Taking trimming into account
This stage allows for a zero point adjustment without changing the value of the mounting height. The configurable value for "trimming" is added to the preliminary water level of the previous stage. I.e., if for example the water level should be reduced during the zero point adjustment, a negative sign has to be set for the configuration parameter "trimming" (see Additional explanation on zero point adjustment). The standard value for "trimming" is 0 mm and can be adjusted via the configuration interface of a compatible data logger (see User interfaces).
Additional explanation on zero point adjustment
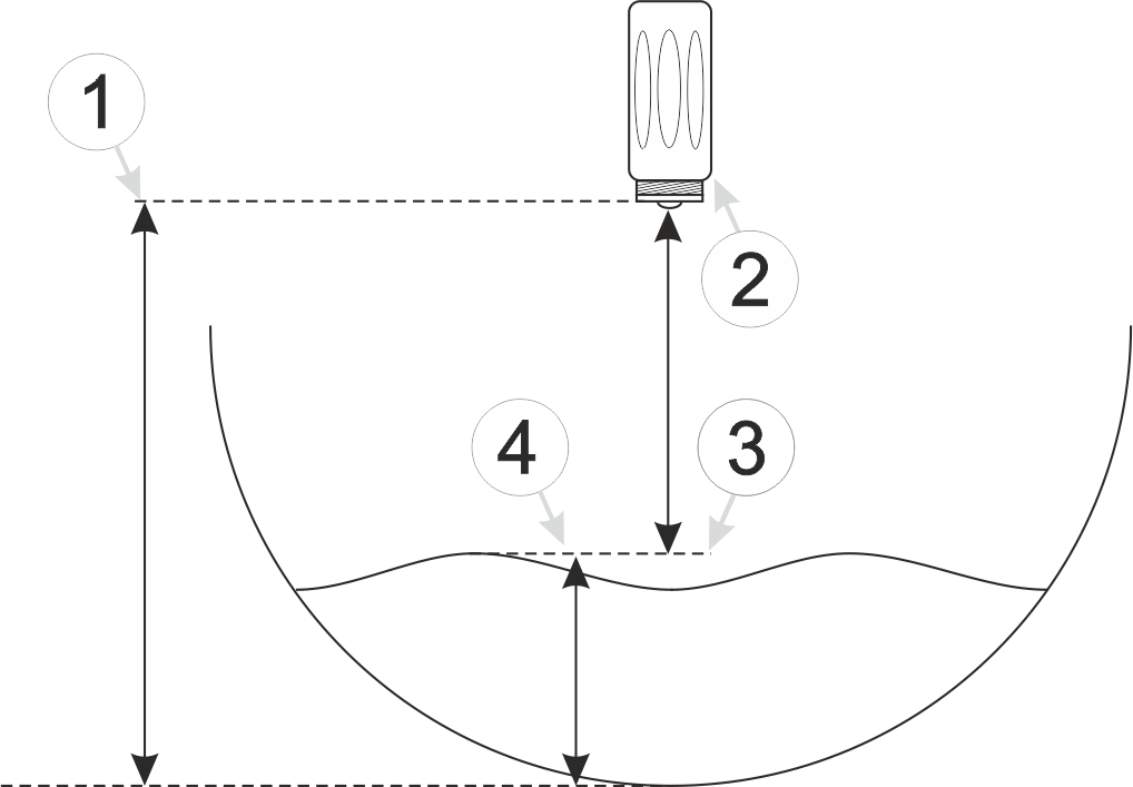
Installation situation of the BLE Radar
| 1 | Mounting height: 50 cm | 3 | Output value of the BLE Radar : 40 cm/10 cm (distance/water level) |
| 2 | BLE Radar | 4 | Measured water level: 9 cm |
| Parameter | Value |
|---|---|
| Trimming | -0,01 m |
| Mounting height | 0,5 m |
Explanation: When comparing the measured water level with the measurement value "water level" of the BLE Radar , it was found that the value is 1 cm too high. The mounting height has already been taken into account for the calculation of the measurement value "water level" (mounting height - distance). Since the parameter "trimming" is added to the measurement value "water level", the deficiency can be counterbalanced by setting the vlaue of the parameter "trimming" to -0,01 m.